這一份資料為應援科技政治申報功能教學指南,這份資料將協助您透過應援科技系統進行政治獻金申報,與過去申報模式相比,可大幅節省您的作業時間,若您跟著這份指南上的步驟操作,便可順利完成申報。
若您在操作上有遇到任何問題,請先參考此份指南的說明,若在此份指南上找不到能解決您問題的方法,請您撥打(02)-2627-8830(週一至週五10:00-18:00),或寄信至 info@oen.tw 將有專人為您服務唷。
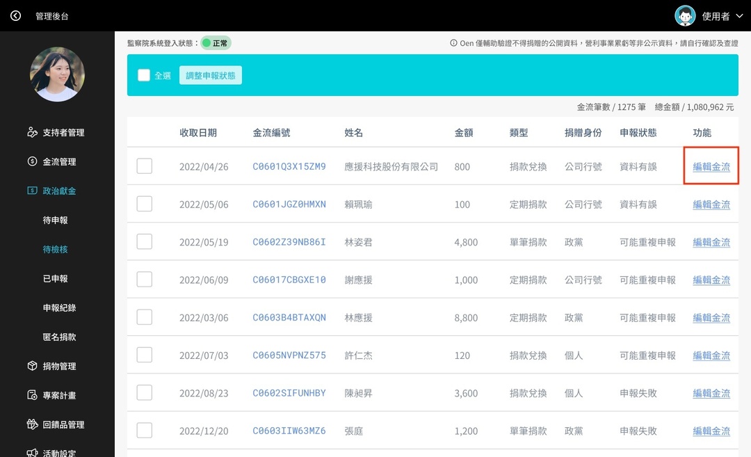
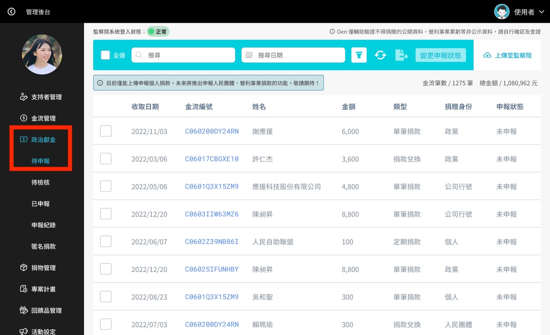
如果你是候選人、政黨,你的管理後台選單會出現「政治獻金」選項。你可以在政治獻金管理,查看政治獻金捐款申報的金流、列表、與記錄。
使用 Oen 收受的政治獻金捐款,可以直接上傳至監察院系統,並開立正式可作抵稅憑證的收據。具體流程說明如下:
在開始前,請確認「政治獻金 - 收據設定」已經上傳收據印鑑章,以便成功開立收據。
